This is an old revision of the document!
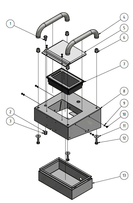
| Item Number | Document Number | Description | Quantity |
|---|---|---|---|
| 1 | 984007 | On/Off button | 1 |
| 2 | 984007-1 | Washer M16 Ingår I Knapp? | 1 |
| 3 | 984007-1_2 | Nut M16 Ingår I knapp? | 1 |
| 4 | 809203 | Handle | 2 |
| 5 | 1109518 | Lid | 1 |
| 6 | 709204 + 709203 | Expander | 4 |
| 7 | 989201 | Control-panel | 1 |
| 8 | 159208 | Lid box | 6 |
| 9 | 941087 | Toothed washer M5 | 6 |
| 10 | 941035 | Screw M5 x 8 | 4 |
| 11 | 941043 | Washer M10 | 4 |
| 12 | 941024 | Screw M10 x 30 | 1 |
| 13 | 109207 | Box | 1 |